14 апреля 2016 года Google подал заявку на патент, под названием "RANKING QUERY RESULTS USING BIOMETRIC PARAMETERS", что в переводе носит название как: "Ранжирование результатов выдачи с использованием биометрических параметров". Если коротко, то принцип работы нового алгоритма основывается на том, чтобы при поиске с мобильных телефонов отслеживать биометрические реакции пользователя? отснятых через фронтальную камеру гаджета на тот или иной результат выдачи. Полученные данные об эмоциональной реакции пользователя будут обрабатываться с помощью технологий машинного обучения, и на основании полученных данных, в зависимости от того насколько довольны или недовольны пользователи полученным результатом поиска, и будет формироваться поисковая выдача.
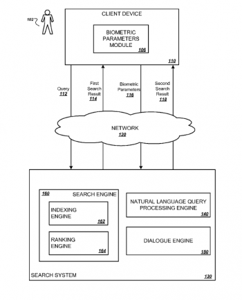
Например, кто-то ищет “пиццерии”, и первым результатом поиска является пиццерия, где он побывал до этого, и по каким-то причинам эта пиццерия не понравилась. Это заставит человека например нахмуриться, а эмоция может быть запечатлена на камеру телефона. Эта реакция может рассматриваться как негативный сигнал для поиска, и потенциально может указывать Google на то, что эта пиццерия не достойна быть так высоко для этого поискового запроса, или наоборот, в случае если реакция пользователя была позитивной. На рисунках ниже показан принцип работы алгоритма.
Рис.1, Рис.2
Среди биометрических параметров которые могут быть учтены в рамках алгоритма указаны:
- Повышение температуры тела
- Расширение зрачка
- Дерганье глаза
- Покраснение лица
- Частота мигания ресниц
- Учащение пульса.
Такой подход в построении результатов выдачи несомненно можно назвать технологией будущего, но вот насколько это будет практично, не нарушая при этом прав человека, остается под вопросом.
- 58 просмотров

